Recherche par catégorie

filtrer votre sélection ?

Je kunt de producten filteren door één of meerdere categorieën te selecteren.

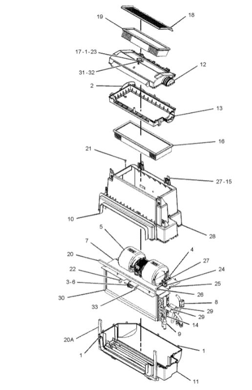
Compr. Orig. CAT 980 K wheel loader

Numéro d'article: 101ZCP1202.O


Omschrijving Compr. Orig. CAT 980 K wheel loaderMerk (af fabriek) SandenType SD7H15Poelie (aantal groeven) PV8Diameter Poelie 133 mm.Voltage 24VAansluiting PADIngang / zuigzijde Niet bekendUitgang / perszijde Niet bekendOlie PAG 46 / 180 ml.Koudemiddel R134aOpmerking / extra info n.v.t.

Se connecter

Pour le prix actuel

Condenser CAT Shovel

Numéro d'article: 120ZCP8024


Omschrijving Condenser CAT ShovelHoogte (blokmaat) 755 mm.Hoogte (totaal) 755 mm.Breedte (blokmaat) 602 mm.Breedte (totaal) 662 mm.Dikte (blokmaat) 30 mm.Dikte (totaal) Niet bekendIngang Niet bekendUitgang Niet bekendOpmerking / extra info Zonder droger
LET OP: er wordt onder hetzelfde originele nummer ook eeen condenser geleverd die 640 mm breed is. Dit is ons artikelnummer 120ZCP0534

Se connecter

Pour le prix actuel

Se connecter

Pour le prix actuel

Expansiepijp geel

Numéro d'article: 38642


Omschrijving Expansiepijp geelKleur GeelDiameter Ø (mm) 1.57 mm.Opmerking / extra info o.a. Audi, Volkswagen, Seat, Skoda, Volvo

Se connecter

Pour le prix actuel

Se connecter

Pour le prix actuel

Drukschakelaar CAT Buldozer

Numéro d'article: 145ZCP8011


Omschrijving Drukschakelaar CAT BuldozerVoltage 12VSchroefdraad 7/16 - 20 FemaleAantal connector pinnen 2Opmerking / extra info n.v.t.

Se connecter

Pour le prix actuel

Drukschakelaar CAT Buldozer

Numéro d'article: 145ZCP8013


Omschrijving Drukschakelaar CAT BuldozerVoltage 24VSchroefdraad M12 FemaleAantal connector pinnen 2Opmerking / extra info n.v.t.

Se connecter

Pour le prix actuel

Se connecter

Pour le prix actuel

Se connecter

Pour le prix actuel

{{items.length}} {{texts.bottomBoxTitle}}