Search by category

filter your selection?

Je kunt de producten filteren door één of meerdere categorieën te selecteren.

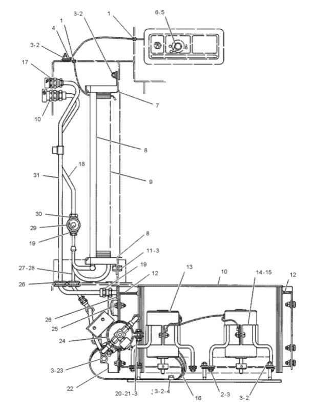
Compr. Gen. CAT

Part number: 101ZCP7010.O


Omschrijving Compr. Orig. CATMerk (af fabriek) SandenType SD7H15Poelie (aantal groeven) A1Diameter Poelie 138 mm.Voltage 24VAansluiting PADIngang / zuigzijde 16,7 mm.Uitgang / perszijde 16,4 mm.Olie PAG 46 / 300 ml.Koudemiddel R134a Opmerking / extra info Dekselcode GK

Login

For the current price

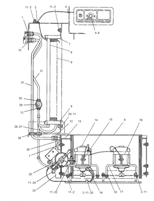
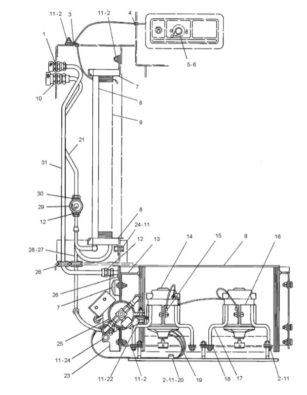
Compr. Copy CAT

Part number: 101ZCP7010


Omschrijving Compr. Kopie CATMerk (af fabriek) SandenType SD7H15Poelie (aantal groeven) A1Diameter Poelie 138 mm.Voltage 24VAansluiting PADIngang / zuigzijde 16,7 mm.Uitgang / perszijde 16,4 mm.Olie PAG 46 / 300 ml.Koudemiddel R134a Opmerking / extra info Dekselcode GK

Login

For the current price

Login

For the current price

Login

For the current price

Login

For the current price

Login

For the current price

Login

For the current price

Login

For the current price

Thermostat mechanical capillary 864 mm.

Part number: 35845


Omschrijving Thermostaat mechanisch capillair 864 mm.Lengte voeler 864 mmOpmerkingen Regelbaar

Login

For the current price

{{items.length}} {{texts.bottomBoxTitle}}